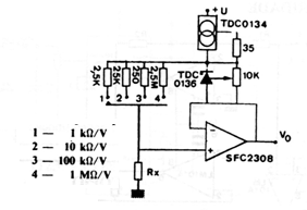
Este medidor de resistencia tiene una escala lineal, convirtiendo resistencias en tensión. El amplificador operacional se puede sustituir por equivalente. El circuito es de un manual de los años 80.

Este medidor de resistencia tiene una escala lineal, convirtiendo resistencias en tensión. El amplificador operacional se puede sustituir por equivalente. El circuito es de un manual de los años 80.
