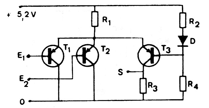
Este shield transistorizado funciona también como puerta lógica. La alimentación puede quedar en el rango de 4,5 a 5,2 V y la salida depende de la carga R1 puede ser de 1k, y los demás dependen de las características deseadas. Los transistores son de uso general.




