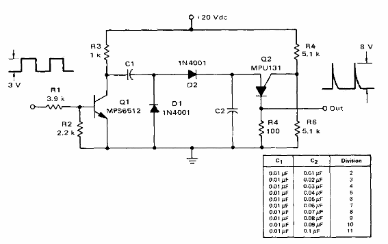
Este circuito fue obtenido en una publicación sobre PUT (Transistor programable Unijunción) de Motorola de 1974. El circuito divide señales rectangulares en frecuencias que dependen de los componentes dados en la tabla junto al diagrama.

Este circuito fue obtenido en una publicación sobre PUT (Transistor programable Unijunción) de Motorola de 1974. El circuito divide señales rectangulares en frecuencias que dependen de los componentes dados en la tabla junto al diagrama.
