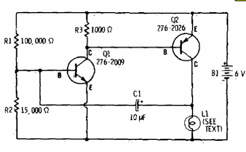
Este parpadeo de configuración bastante conocido fue sugerido por una publicación de Radio Shack de 1977. La frecuencia depende del condensador. Para Q2 como BD136, la lámpara puede tener hasta 200 mA de corriente. El otro transistor puede ser el BC548. La alimentación se puede hacer con tensiones de 6 a 12 V según la lámpara.




