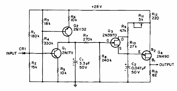
Encontramos este circuito en una publicación técnica antigua. El transistor unijunción puede ser el 2N2646, el FET puede ser el BF245 y los bipolares los BC558 y BC548. El circuito genera 1000 pulsos por segundo para lógica 1 y 4 4400 pulsos para lógica 0.




