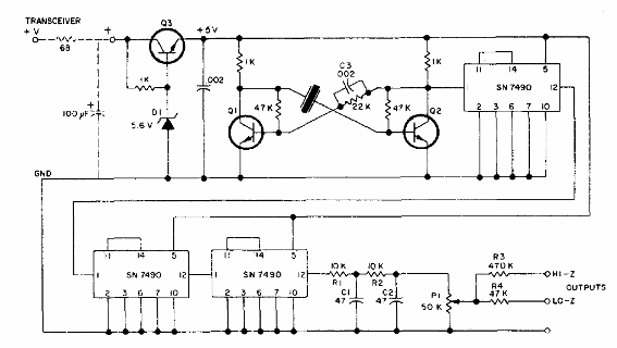
Este circuito se utiliza en radiotransmisores que generan señales en las frecuencias indicadas a partir de un cristal de 65 a 240 kHz. El circuito es TTL con un regulador de 5 V que utiliza un BD135. Los demás transistores pueden ser el 2N2222.

Este circuito se utiliza en radiotransmisores que generan señales en las frecuencias indicadas a partir de un cristal de 65 a 240 kHz. El circuito es TTL con un regulador de 5 V que utiliza un BD135. Los demás transistores pueden ser el 2N2222.
