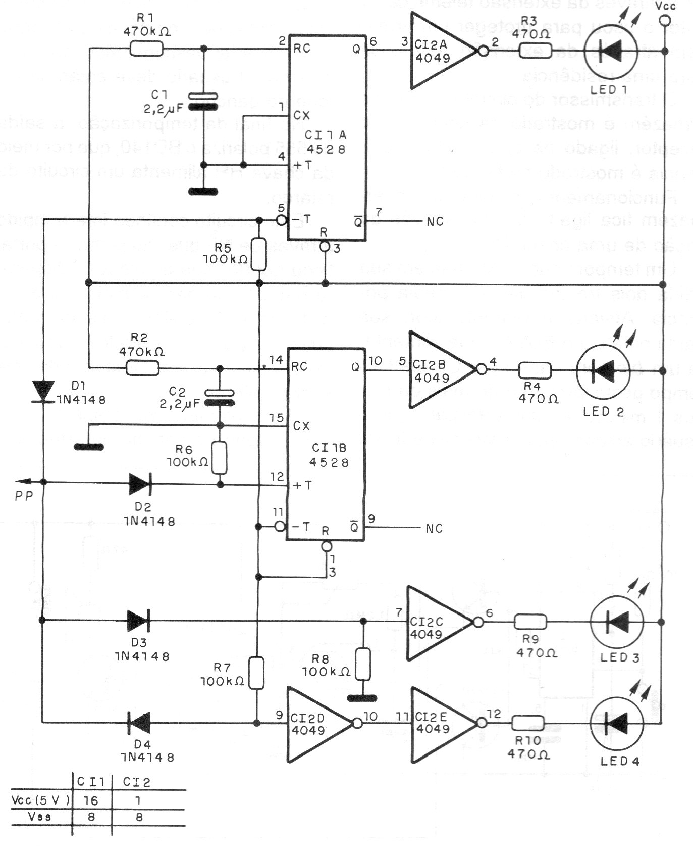
Este circuito lógico puede indicar los niveles de salidas tanto TTL (5 V) como CMOS (5 a 12 V), operando con circuitos integrados comunes en nuestro mercado. Son 4 los LED indicadores, para un análisis bastante completo de las señales, siendo ellos comunes o pulsantes. La alimentación se retira del circuito que se está analizando. El circuito fue encontrado en una documentación de 1994.




