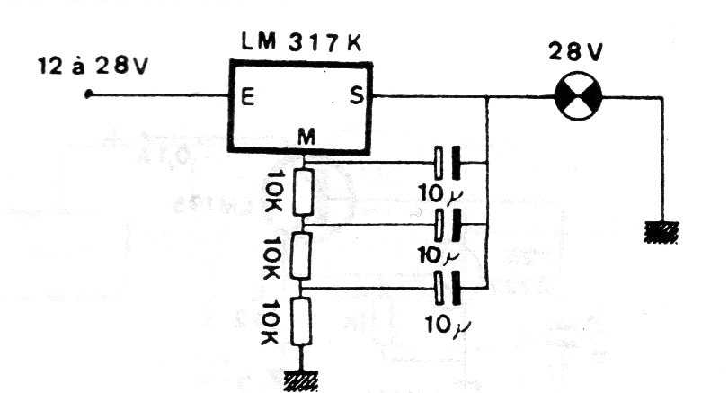
Esta configuración de una documentación antigua, pero aún actual, muestra cómo implementar un parpadeante parpadea para la lámpara incandescente con regulador de tensión. El regulador utilizado es de 1,5 A pero se puede utilizar el LM350 a 3 A. Para corrientes superiores a 500 mA el regulador debe estar dotado de un disipador de calor. La lámpara debe ser de acuerdo con la tensión de entrada.




