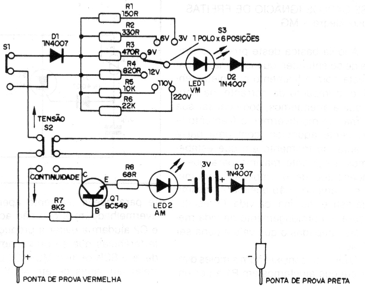
Este sofisticado probador de continuidad con varias pistas de sensibilidad fue encontrado en una publicación de 1990. En él tenemos la posibilidad de seleccionar varias pistas de indicación en LEDs para operar con corrientes de prueba diferentes, según el componente o circuito en prueba. El circuito también funciona como voltímetro.




