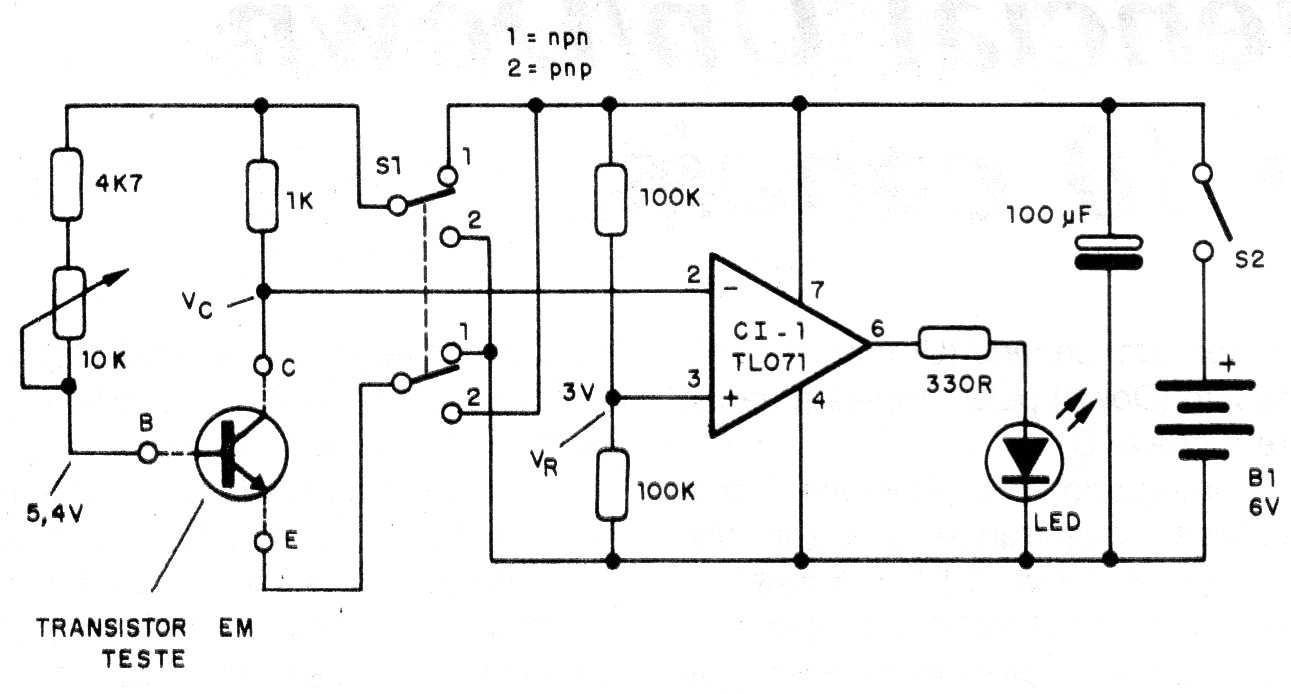
Este circuito es de una documentación de 1990. Utiliza un puente con LEDs y el potenciómetro debe calibrar en términos de hFE según la tabla. El circuito es alimentado por 4 pilas y se puede utilizar con transistores de uso generan, media y alta potencia, además de Darlingtons.





