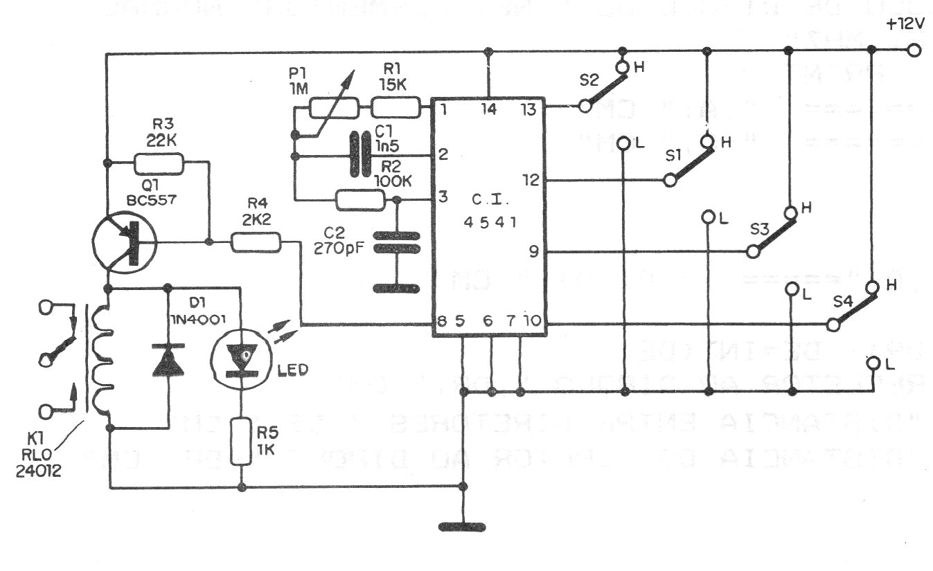
Este circuito tiene cuatro claves de programación de tiempo, según la tabla dada junto al diagrama. El circuito debe ser alimentado por tensión de acuerdo con el relé y el ajuste de las escalas de tiempo puede ser hecho a través de P1.
Este circuito tiene cuatro claves de programación de tiempo, según la tabla dada junto al diagrama. El circuito debe ser alimentado por tensión de acuerdo con el relé y el ajuste de las escalas de tiempo puede ser hecho a través de P1.