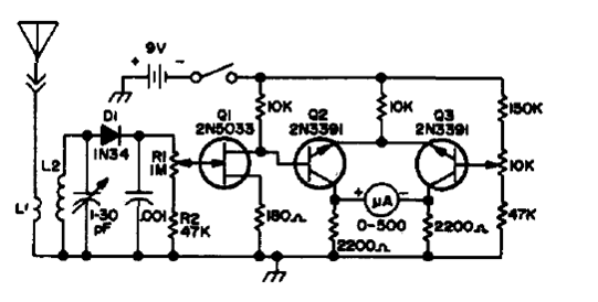
Este instrumento fue encontrado en una publicación para radioaficionados de 1973. El circuito sintonizado consiste en 11 espiras de hilo 28 en forma de 1 cm sin núcleo para el rango de 13 a 24 MHz. L1 consiste en 5 espiras del mismo hilo sobre L2. La variable es de una radio común AM. El FET puede ser el BF245 y los demás transistores BC548. La antena es telescópica de 60 a 100 cm.




