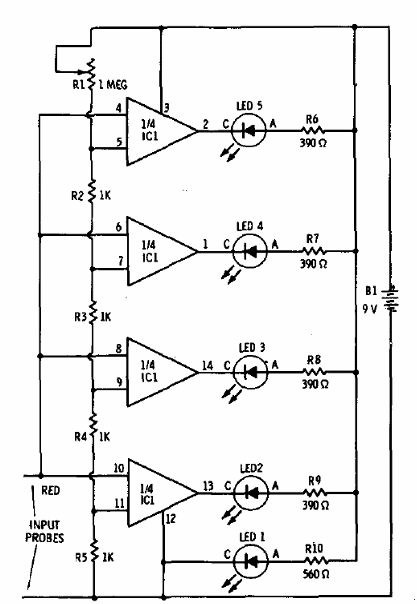
Encontramos este voltímetro en una documentación de la Radio Shack de 1977. El circuito integrado puede ser el LM339 y los puntos de disparo de los comparadores son determinados por los resistores. En este circuito el disparo ocurre a intervalos de 1 V aproximadamente.




