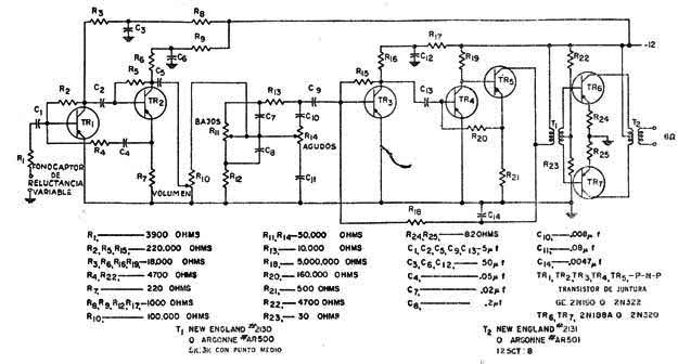
Los transistores de utilizados en esta configuración de 1958 son de germanio, pero se pueden hacer cambios para permitir el uso de los transistores de silicio. Cables de entrada y salida de señal están blindados. Los componentes críticos, además de los transistores son los transformadores.




