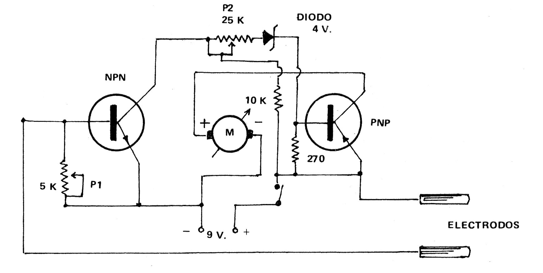
Este circuito puede detectar pequeñas tensiones generadas por el sistema nervioso o aún variaciones de la resistencia de la piel funcionando como detector de mentiras. Los transistores pueden ser NPN de uso general como el BC548 y PNP de uso general como el BC558. La alimentación también se puede realizar con 6 V y el indicador es un microamperímetro de 50 ó 200 uA. Los electrodos son tubos de metal para ser seguros por las personas analizadas.




