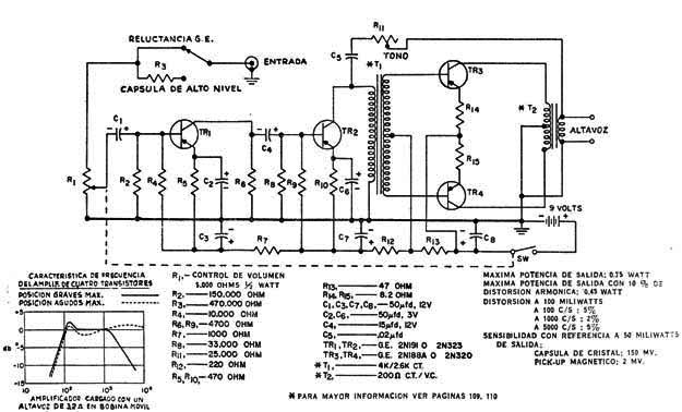
Este pequeño amplificador transistorizado fue encontrado en una publicación de 1958. Fue utilizado en fonógrafos del tiempo portátil. Los transformadores son los elementos críticos, así como los transistores. Los transformadores son del tipo que se encuentra en las radios a transistores de la época.




