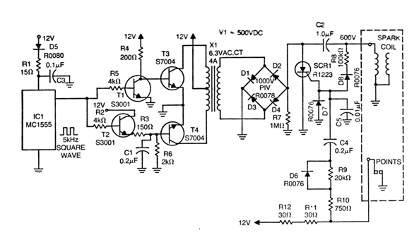
El componente crítico de este circuito es el transformador. T1 y T2 pueden ser BD135 y T3 / T4 pueden ser 2N3055. El circuito integrado es el 555. El SCR puede ser el TIC226. El inversor utilizado trabaja con una tensión de 500 V. En el diseño, cambie la configuración del 555 a la convencional de astable con los componentes recomendados.




