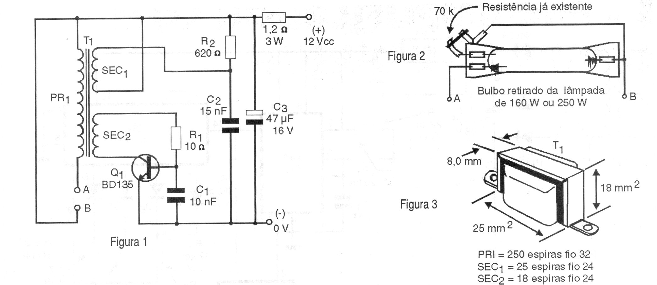
Aplicando una alta tensión en una lámpara mixta podemos obtener una luz azulada de efecto decorativo. Esto es lo que propone este circuito de 1997, usando un pequeño inversor alimentado por una tensión de 12 V. El transformador tiene sus datos en la propia figura y también el modo de conexión a la lámpara. El transistor debe estar dotado de un disipador de calor.




