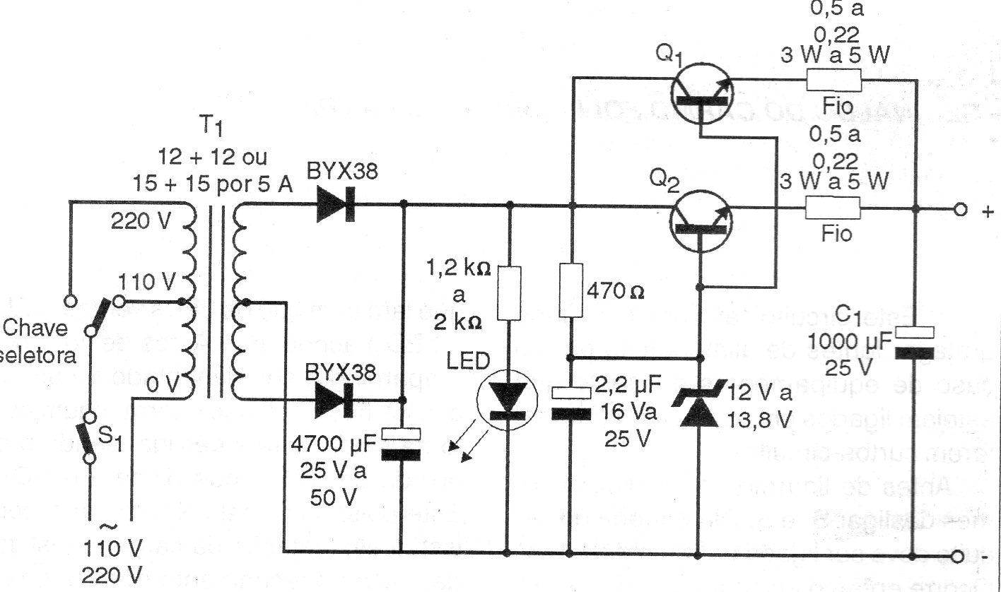
Esta fuente convencional utiliza componentes discretos que pueden suministrar 12 V o 13,6 V de salida con una corriente máxima de 5 A. Los transistores deben estar dotados de disipadores de calor y el transformador es de 12 o 15 V.
Un oscilador de relajación con lámpara de neón es la base de este circuito que se puede utilizar como...
Un comparador de tensión de precisión, usando diodo zener como referencia puede ser implementado con...
Este circuito detecta ductos de metal, hilos de instalaciones embutidas, pequeños objetos...