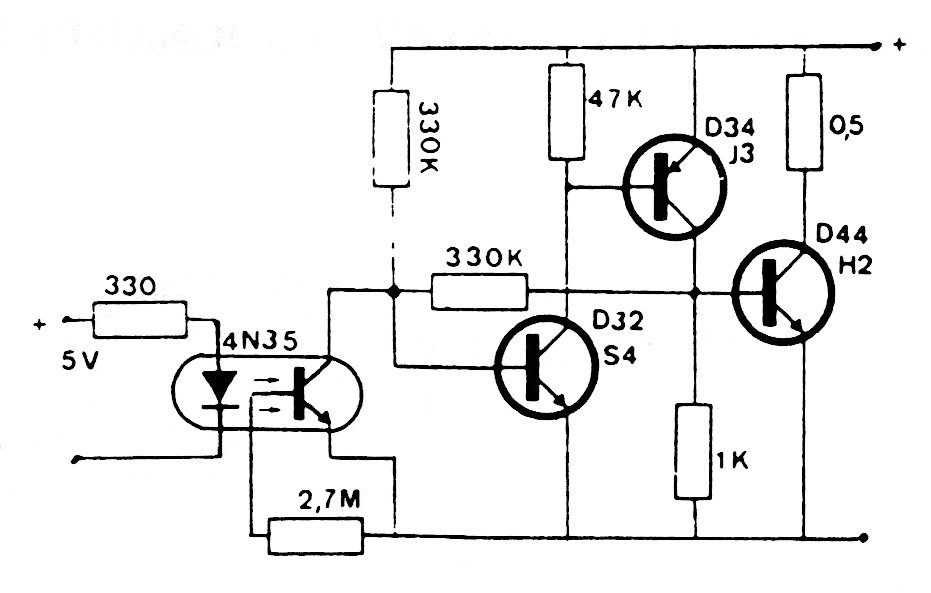
Este shield fue encontrado en una documentación de los años 80. Los transistores admiten equivalentes según la carga y el resistor de carga también depende de la corriente a ser controlada. El resistor en serie con el LED emisor es de 330 ohms para microcontroladores comunes.




