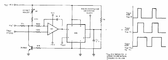
Este circuito se encontró en el Signetics Analog Data Manual de 1977. Puede servir de base para un control PWM. Los componentes son comunes y los diagramas de tiempo se muestran junto al circuito. El transistor puede ser un 2N2222.

Este circuito se encontró en el Signetics Analog Data Manual de 1977. Puede servir de base para un control PWM. Los componentes son comunes y los diagramas de tiempo se muestran junto al circuito. El transistor puede ser un 2N2222.
