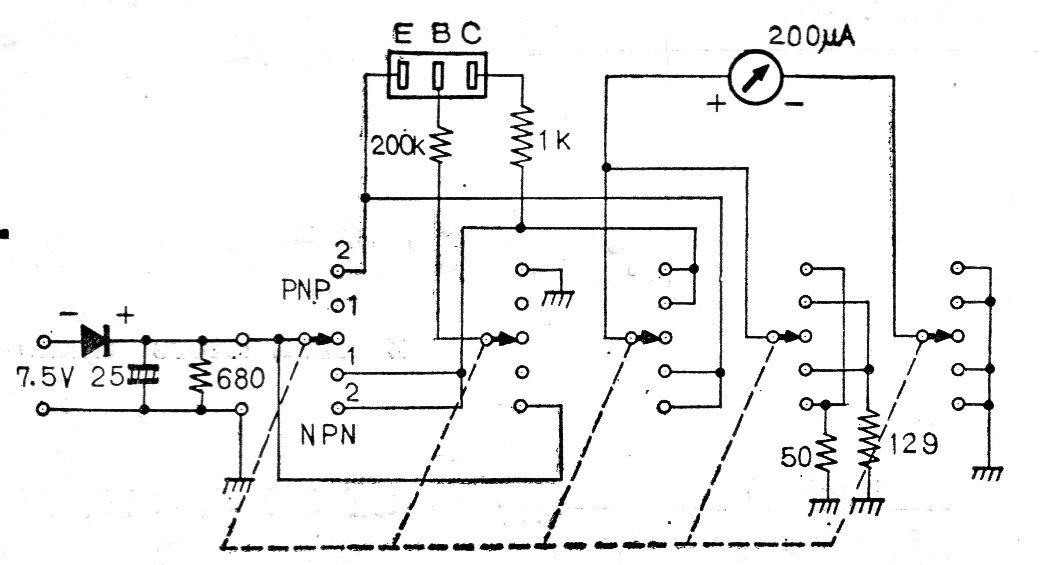
Este circuito probador de transistores comercial (EICO 666) es de una publicación japonesa de la década de 1960. El interruptor selecciona los tipos de prueba con la conmutación de los terminales y los rangos de ganancia.
Un oscilador de relajación con lámpara de neón es la base de este circuito que se puede utilizar como...
Un comparador de tensión de precisión, usando diodo zener como referencia puede ser implementado con...
Este circuito detecta ductos de metal, hilos de instalaciones embutidas, pequeños objetos...