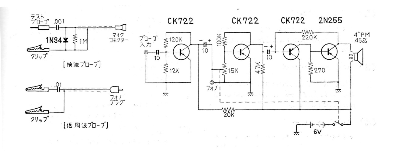
Este seguidor de señal comercial se encontró en una revista japonesa de 1967. Utiliza transistores de germanio y proporciona una salida de altavoz sin necesidad de un transformador.
Un oscilador de relajación con lámpara de neón es la base de este circuito que se puede utilizar como...
Un comparador de tensión de precisión, usando diodo zener como referencia puede ser implementado con...
Este circuito detecta ductos de metal, hilos de instalaciones embutidas, pequeños objetos...