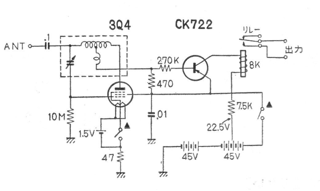
Este circuito se encontró en la documentación japonesa de la década de 1960. La bobina debe ser de 4mH y la antena consta de una varilla de 15 cm. El relé es de tipo sensible y la alimentación debe ser suministrada por dos baterías, una de 45 V para el circuito de la placa de válvulas.




