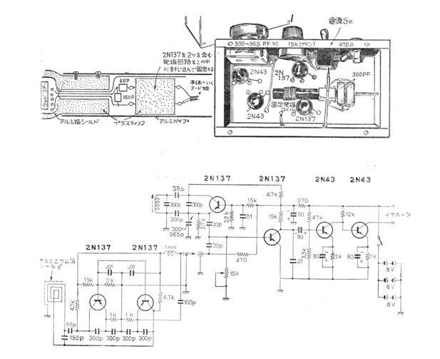
Este interesante circuito se encontró en una documentación japonesa de 1967. Los transistores son tipos de germanio de esa época. No se proporciona información sobre las bobinas, pero deben estar enrolladas para que los osciladores operen a la misma frecuencia alrededor de unos pocos cientos de kilohertz.




