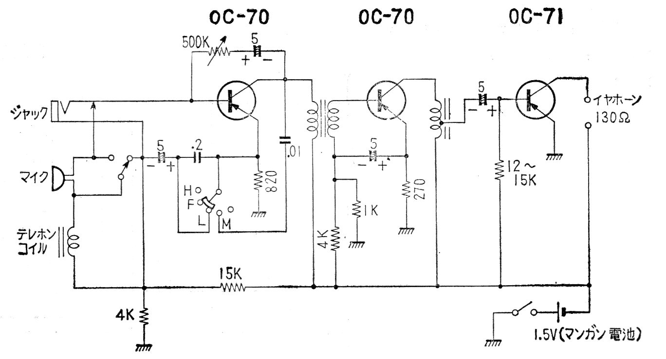
Este circuito comercial de 3 transistores se encontró en la documentación japonesa de la década de 1960. El circuito utiliza un teléfono magnético de alta impedancia y funciona con una sola batería.
Usted puede montar su propio sistema de sonido con un altavoz para medios y graves (alto rango) y...
Para alimentar a los pequeños proyectos que requieren corrientes de hasta 1 A, se dará una fuente...
Este es un proyecto didáctico interesante. En el electroimán experimental accionado por la luz. ...