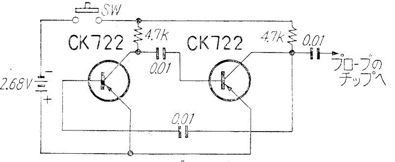
Este circuito es de una publicación de los años 60. Los transistores utilizados son de los primeros tipos comerciales, CK722. El circuito se puede diseñar con transistores modernos y la frecuencia depende del condensador. Con transistores más modernos la alimentación se puede realizar con tensiones de 3 a 12 V.




