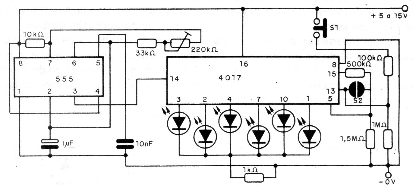
Este es un circuito que no debe utilizarse para lectores interesados ??en un juego limpio. El circuito dibuja aleatoriamente cualquier número entre 1 y 6 cuando presiona S1. Pero, al tocar el sensor S2, el sorteo siempre resultará en 6. El circuito se encontró en una documentación de 1993 y puede ser alimentado por tensiones entre 5 y 12 V.




