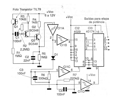
Este es el receptor del CIR3617S, pero se puede utilizar con otros transmisores de infrarrojos modulados. El fototransistor es de cualquier tipo y se puede obtener un mayor alcance con el uso de lentes. La alimentación se puede realizar con tensiones de 5 a 12 V y para 5 V se puede utilizar como shield sensor para microcontroladores.




