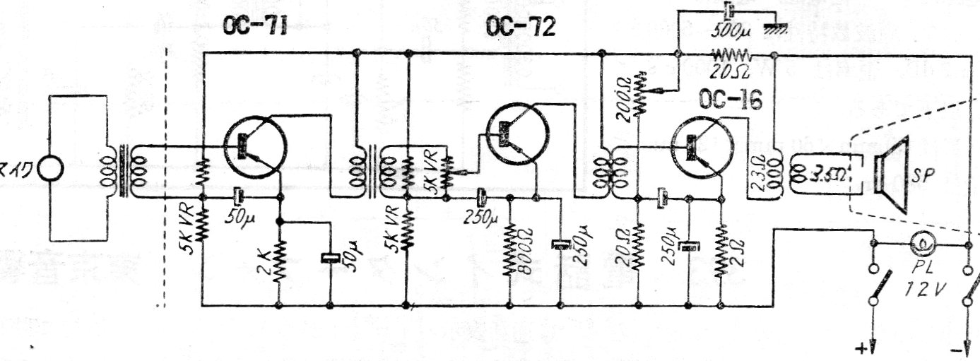
Este amplificador se puede utilizar para direcciones públicas u otras aplicaciones. Se utilizan tres transistores de la época, ya que el circuito es de una documentación japonesa de los años 60.
Este simple circuito puede medir temperaturas con cierta precisión, dependiendo sólo de cómo se...
Podemos mostrar cómo funciona un amplificador operacional montando un simple circuito con el 741....
Esta versión de oscilador sensible a la luz utiliza como sensor un foto-transistor o un transistor de...