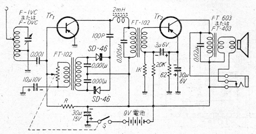
Encontramos esta radio transistorizada para la banda AM en una publicación japonesa de 1960. Los transistores son de germanio y la escucha es por un altavoz. La bobina puede tener 30 + 50 + 10 vueltas de alambre 30 o 32 en una varilla de ferrita.
Este circuito simple hace que un LED parpadee al ritmo de la música de pequeños aparatos de sonido...
Nuestro proyecto consiste en un simple electroimán que, alimentado por una pila común puede atraer...
Las pilas recargables o las baterías de Nicad consisten en una de las fuentes de energía más...