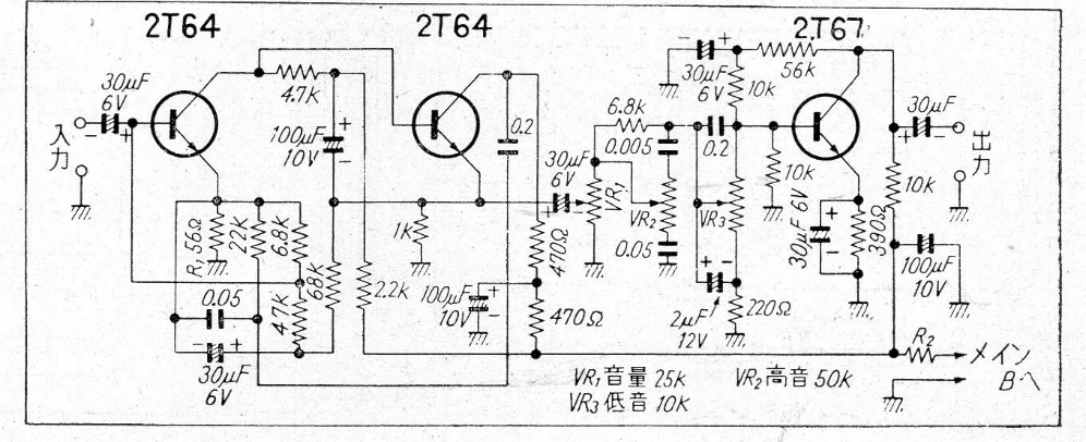
Este preamplificador es de documentación de los años 60. Por supuesto, los transistores son raros hoy en día, pero la configuración sirve como ejemplo. El circuito se utilizó con amplificadores de válvulas de la época.
Este circuito simple hace que un LED parpadee al ritmo de la música de pequeños aparatos de sonido...
Nuestro proyecto consiste en un simple electroimán que, alimentado por una pila común puede atraer...
Las pilas recargables o las baterías de Nicad consisten en una de las fuentes de energía más...