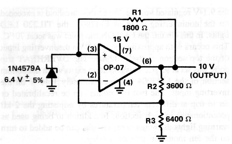
Este circuito, que se encuentra en la documentación de Texas Instruments de los años 90, proporciona una referencia de tensión de 10 V. Se pueden obtener otros voltajes cambiando la red del divisor de tensión que se usa como referencia. El circuito no requiere una fuente de alimentación simétrica y se pueden utilizar otros operacionales.




