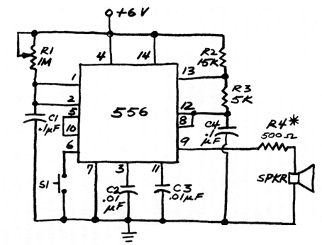
De hecho, el 556 consta de un doble 555, que puede ser sustituido por estos integrados. El circuito es de documentación estadounidense y la carga de salida puede tener una resistencia menor, hasta 120 ohms, para un volumen mayor. El circuito funciona con tensiones de 5 a 12 V.




