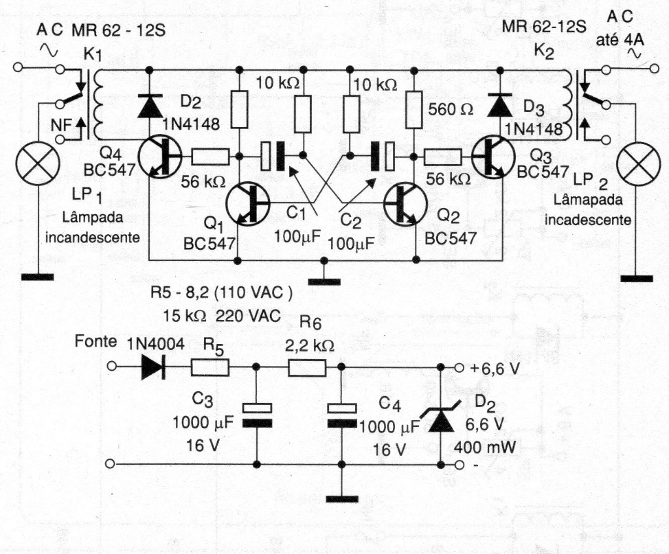
Este circuito común que utiliza un multivibrador hace que dos lámparas parpadeen alternativamente a una frecuencia y ciclo activo determinados por los condensadores. El circuito está alimentado por 6 V que es la tensión de los relés utilizados. Los transistores también pueden ser el BC548.




