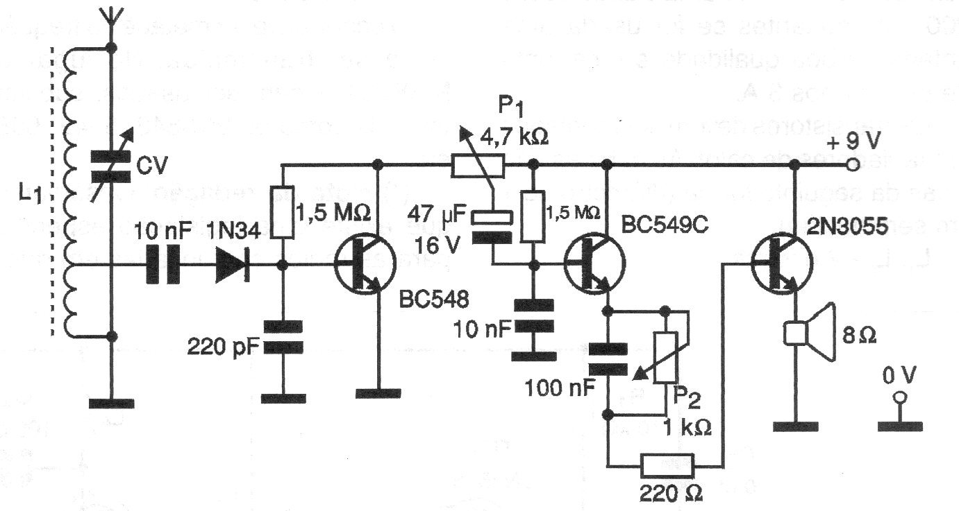
Este simple receptor experimental de AM fue encontrado en una documentación de 2000. La bobina consta de 30 + 70 espiras de hilo 28 o 30 en un bastón de ferrita y CV es una variable de receptor de AM fuera de uso. La antena puede tener de 2 a 10 metros de longitud. P2 es un control de tono.




