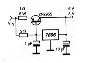
Los reguladores de tensión positiva de tres terminales, como los de la serie 78 XX (donde el XX es la tensión de salida), poseen su corriente máxima limitada en 1 ampère. Para obtener más corriente se puede hacer uso de un transistor PNP de potencia como el 2N2955, que debe montarse en un buen radiador de calor. El modo de lograr esto se muestra en la figura. La tensión de entrada debe ser por lo menos 2 V mayor que la tensión deseada en la salida, y el regulador deberá determinar la tensión de salida. Los resistores deben ser de hilo.




