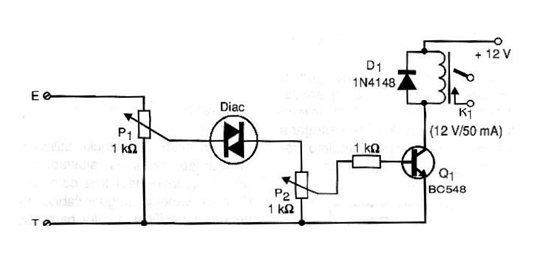
El circuito mostrado en la figura es disparado por una tensión de entrada determinada por el ajuste de P1. Evidentemente, la tensión aplicada en esta entrada debe ser igual o mayor que la necesaria al disparo del Diac. El ajuste de P2 se hace para que tengamos la corriente necesaria la saturación del transistor cuando el diac conduzca, sin que haya peligro de una corriente excesiva de base que le cause daño. El relé dependerá de la tensión utilizada en la alimentación y del tipo de carga a controlar. Recordamos una vez más la acción de latch de este circuito que significa que se mantiene conduciendo cuando la tensión de entrada cae por debajo del umbral del disparo. Para apagar es necesario que la tensión de entrada caiga a cero.




