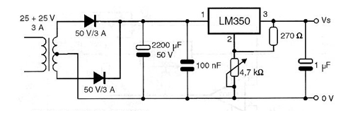
La fuente presentada en la figura proporciona tensiones de salida en el rango de 1,2 a 25 V con corrientes de hasta 3 ampères. El circuito integrado regulador de tensión puede ser el presentado en envoltorio metálico TO-3 o el plástico TO-220, pero en ambos casos debe estar dotado de un buen radiador de calor. El capacitor de 100 nF así como el de 1 ?F deben montarse lo más cerca posible del circuito integrado. El transformador tiene devanado primario de acuerdo con la red de energía y los diodos pueden tener corrientes mayores que las especificadas. Este circuito es sugerido por National Semiconductor.




