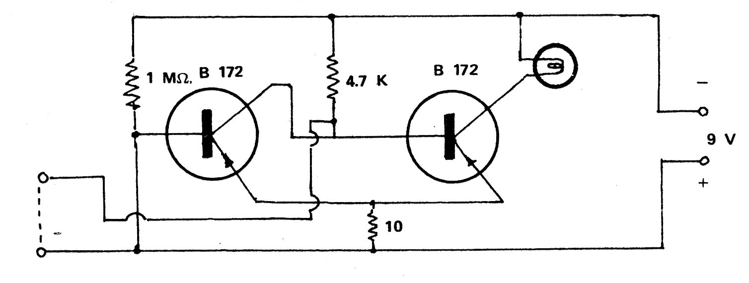
Cuando la conexión remota se desconecta o se detiene, la lámpara se enciende. Los transistores pueden ser los BC558 y la lámpara de 6 o 12 V a 50 mA, según la alimentación. El consumo en la condición de espera es muy bajo, lo que permite el uso de pilas.




