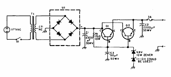
Este circuito de fuente fue obtenido en una publicación para radioaficionados de 1976. Los transistores pueden ser los TIP41. Los diodos del puente pueden ser los 1N5402 o equivalentes y el transformador tiene 12,6 V x 3 A de secundario. Los transistores deben montarse en radiadores de calor.




