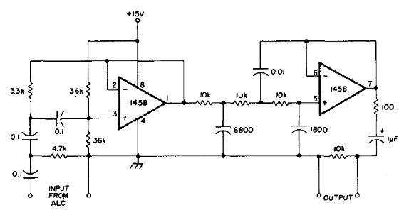
Este filtro, de una publicación de audio de 1977, deja pasar el rango de frecuencias correspondiente a las palabras, siendo ideal para uso en equipos de telecomunicaciones. El 1458 o MC1458 es un doble 741. Los cables de señal deben ser blindados.

Este filtro, de una publicación de audio de 1977, deja pasar el rango de frecuencias correspondiente a las palabras, siendo ideal para uso en equipos de telecomunicaciones. El 1458 o MC1458 es un doble 741. Los cables de señal deben ser blindados.
