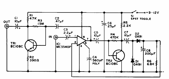
Este circuito es de una publicación de 1976, pudiendo ser montado con amplificadores operacionales más modernos. Los transistores pueden ser el BC548. El circuito comprime la banda dinámica de las señales de audio, aumentando así el rendimiento de transmisores modulados en amplitud.




