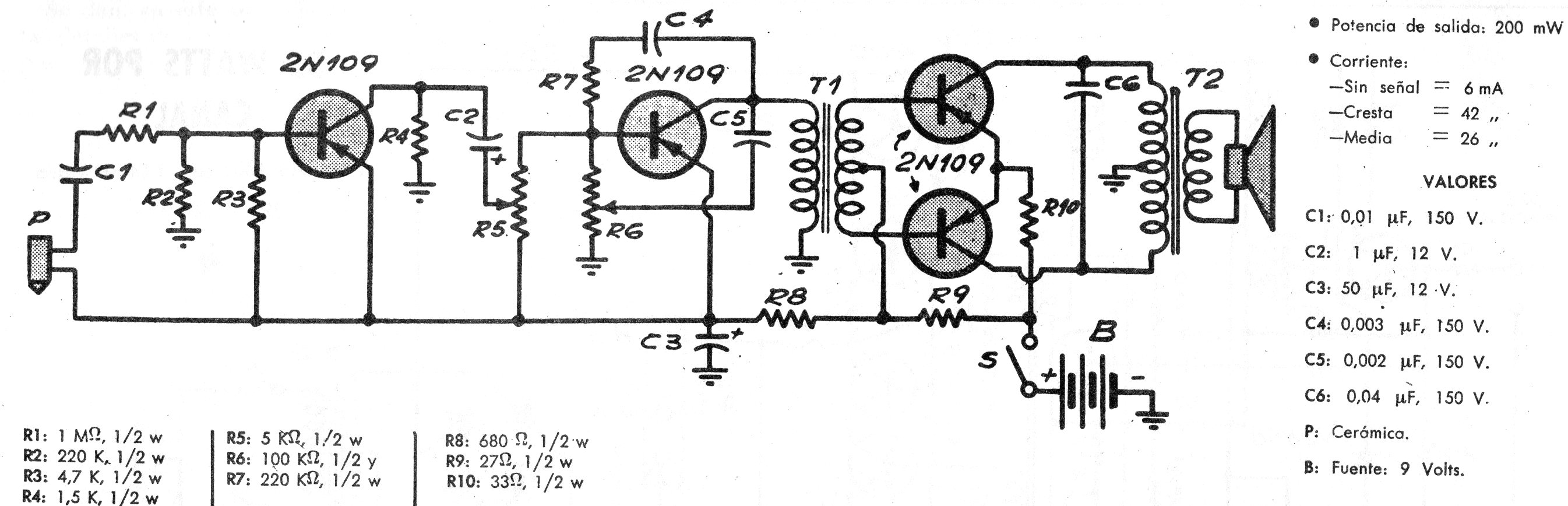
Este es un circuito de amplificador que se encuentra en electrolas o en reproductores de discos portátiles de los años 1970. Este circuito se encontró en una publicación argentina de la época. Los transistores son de germanio y los otros componentes críticos son los transformadores. Estos componentes se pueden obtener en radios transistorizados, grabadores y otros equipos de la época.




