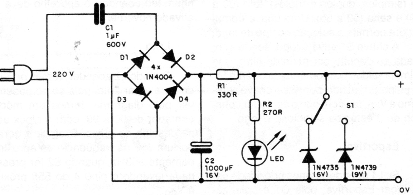
Esta pequeña fuente de uso general tiene una corriente máxima de salida de 100 mA y la tensión es seleccionada por diodos zener. El capacitor de filtro se puede aumentar y el resistor R1 debe ser de 1 W o más. El capacitor C1 es de poliéster con una tensión de aislamiento de al menos 400 V. Para la red de 110 V utilice un capacitor de 2,2 uF.




