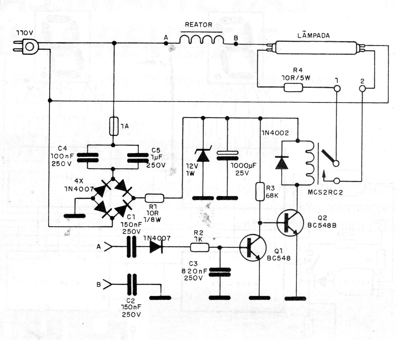
Con este circuito es posible controlar una lámpara fluorescente con señales provenientes de un amplificador u otra fuente de señal. El relé debe ser de 12 V con corriente de accionamiento de 50 mA o menor y los demás componentes son comunes.
La lámpara de prueba o lámpara de serie es un instrumento ultra-simple, pero de gran utilidad en la...
Este probador de continuidad artesanal tiene una finalidad didáctica, pudiendo ser utilizado como tema...
La impedancia de entrada muy alta de un FET tipo MOS permite que incluso las cargas estáticas más...