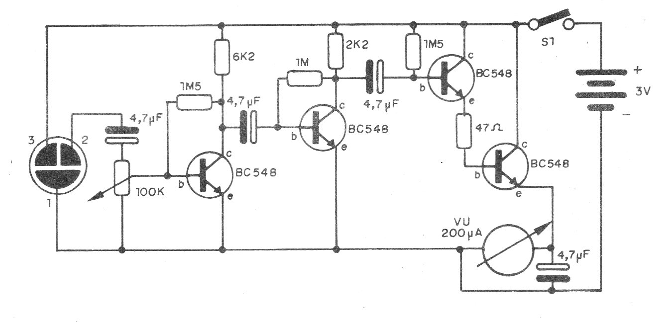
Este simple circuito de medición de nivel sonoro puede ser utilizado en auditorios para medir quién fue más aplaudido. El circuito es de 1992, pero utiliza componentes comunes aún hoy, no ofreciendo dificultades para el montaje. El micrófono es de electreto de tres terminales, pero se puede utilizar uno de dos terminales. Ver en el sitio cómo hacer la modificación.




