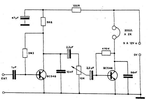
Este amplificador puede usarse como parte de una etapa de salida de radio experimental de AM, FM 0 VHF, excitando audífonos de alta impedancia (de 200 ohm a 2k). La alimentación se hace con una tensión de 9 a 12V y la corriente exigida es inferior a 5mA.




