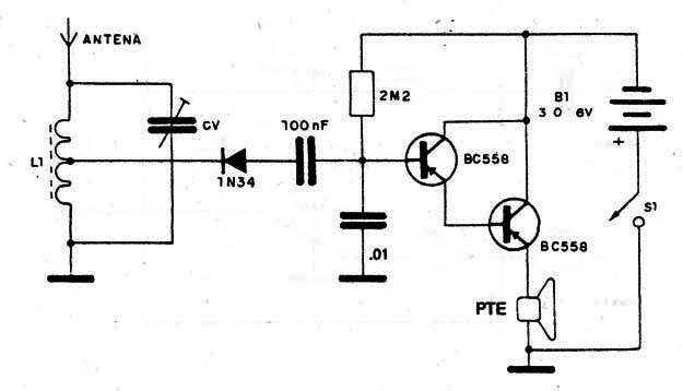
Este receptor es para la banda de ondas medias, y emplea transistores PNP de silicio de uso general. Tiene escucha en audífono de baja impedancia o en un parlante pequeño. Ll está formada por 80 vueltas de alambre AWG 28 en bastón de ferrite de 10 cm con toma en la vuelta número 30. La antena debe ser externa y la conexión a tierra es importante. El variable es común para radios de AM.




