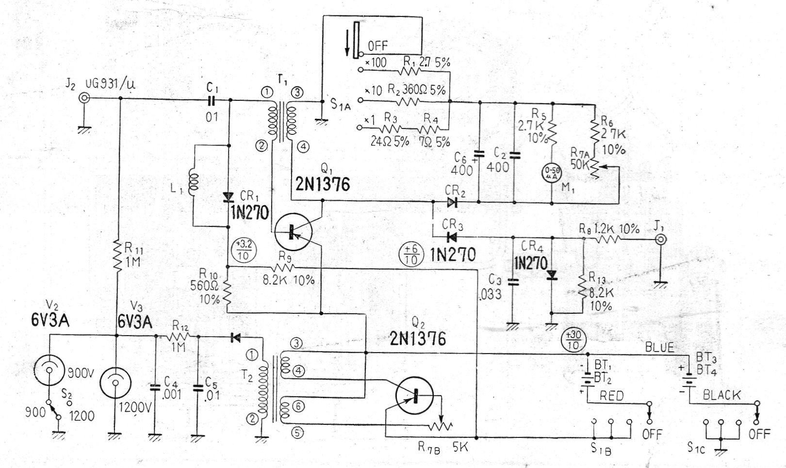
Encontramos este circuito en una publicación Radio TV & Electronics del Japón de los años 60. El circuito puede ser implementado con componentes modernos, pero la válvula Geiger es critica así como las reguladoras de tensión. El circuito es alimentado por batería y tiene un indicador del tipo analógico.





